G49J三通襯膠隔膜閥,G49J-10型號襯膠閥門是用來改變通路斷面和介質流動方向,具有導流、截止、調節、節流、止回、分流或溢流等功能。閥門可用于控制水、蒸汽、油品、氣體、泥漿、各種腐蝕性介質、 液態金屬和放射性流體等流體的流動。
G49J三通襯膠隔膜閥專用于控制非腐蝕性或一般腐蝕性介質,閥體內腔表面無襯里或覆有可供選擇的各種橡膠,適用于不同工作溫度和流體管路。襯里材料的多樣性,可適用于各種介質,并具有良好的耐腐蝕性。閥體與蓋被中間隔膜隔開,使得隔膜上方的閥蓋,閥桿零件不受介質侵蝕,隔膜閥是一種特殊形式的截止閥。
|
設計標準 |
GB12239 |
|
結構長度 |
JB1688/GB12221 |
|
法蘭標準 |
JB78 |
|
GB4216 | |
|
檢驗試驗 |
GB/T13927 |
|
驅動方式 |
手動、電動、氣動、常閉型、常開型 |
|
序號 |
零件名稱 |
灰鑄鐵 |
鑄鋼 |
不銹耐酸鑄鋼 |
超低不銹鋼耐酸鑄鋼 | ||
|
Z |
C |
P |
R |
P |
R | ||
|
1 |
閥體/閥蓋 |
HT250 |
WCB |
CF8 |
CF8M |
CF3 |
CF3M |
|
2 |
閥瓣/閥桿 |
35 |
1cr13 |
1Cr18Ni9Ti |
1Cr18Ni12Mo2Ti |
00cr18Ni10 |
00Cr17Ni14Mo2 |
|
3 |
襯里/閥座 |
PTFE(F4)、PCTFE(F3)、FEP(F46)、PFA(可溶性F4) | |||||
|
4 |
隔膜 |
FEP(F46)/CR(氯丁橡膠)、PFA(可溶性F4)/FPDM(乙丙橡膠) | |||||
|
5 |
支架 |
WCB |
CF8 |
CF8 | |||
|
6 |
閥桿螺母 |
ZCuAI10Fe3 |
ZCuAI10Fe3 |
ZCuAI10Fe3 | |||
|
7 |
緊固螺栓 |
35 |
1Cr17Ni2 |
1Cr18Ni9Ti | |||
|
8 |
螺母 |
45 |
0Cr18Ni9 |
0Cr18Ni9 | |||
|
9 |
手輪 |
WCB |
WCB |
WCB | |||
適用溫度:≤85℃、≤100℃、≤120℃、≤150℃(按照襯里和隔膜材料)
壓力等級:PN(MPa) 0.6 1.0 1.6
材料:
閥體:鑄鐵、球墨鑄鐵、碳鋼、不銹鋼
閥蓋:鑄鐵、球墨鑄鐵、碳鋼、不銹鋼
襯里:無襯里、橡膠
隔膜:橡膠
閥瓣:鑄鐵、碳鋼
閥桿:碳鋼、不銹鋼
手輪:鑄鐵
測試:
襯里層:電火花檢測
試驗與檢驗按BS6755標準
公稱壓力:PN(MPa)
閥體:PN×1.5
密封:PN×1.1
結構特點:
隔膜閥是一種特殊形式的截止閥:
1. 彈性密封的開閉件,確保沒有內漏;
2. 流線型的流道,使得壓力損失小;
3. 沒有填料函,因此沒有外漏;
4. 閥體與蓋被中間隔膜隔開,使得隔膜上方的閥蓋,閥桿等零件不受介質侵蝕;
5. 隔膜可更換,維護費用低;
6. 襯里材料的多樣性,可適用于各種介質,并具有強度高、耐腐蝕性能好的特點。
中國.上玉集團有限公司是專業生產襯膠閥門的廠家,三通襯膠隔膜閥訂貨須知:
一、①三通襯膠隔膜閥產品名稱與型號②三通襯膠隔膜閥口徑③三通襯膠隔膜閥是否帶附件以便我們的為您正確選型。
二、若已經由設計單位選定的三通襯膠隔膜閥型號,請按三通襯膠隔膜閥型號直接向我公司銷售部訂購。
三、當使用的場合非常重要或環境比較復雜時,請您盡量提供設計圖紙和詳細參數,由我們上玉集團的專家為您審核把關。
感謝您訪問上玉集團公司網站,如有任何疑問您可以撥打我們的全國熱線電話:400-887-6587,我們一定會盡心盡力為您提供優質的服務。
G49J,G49J三通襯膠隔膜閥
G49J-10,G49J-10三通襯膠隔膜閥

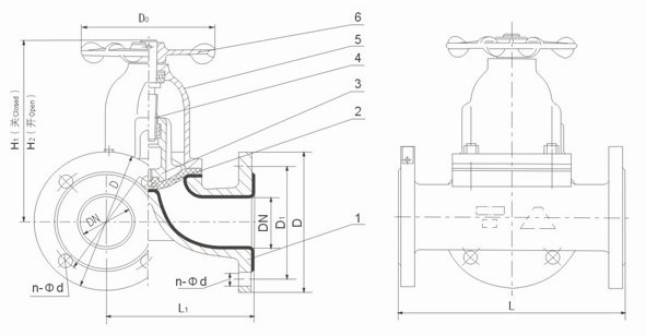
DN mm |
公稱壓力 MPa |
工作壓力 MPa |
L (mm) |
D (mm) |
D1 (mm) |
n-φd (mm) |
F (mm) |
H1 (mm) |
H2 (mm) |
D0 (mm) |
質量 |
| 25 | 1.0 | 1.0 | 160 | 96 | 115 | 85 | 4-14 | 108 | 120 | 66 | 5.5 |
| 32 | 180 | 118 | 135 | 100 | 4-18 | 138 | 157 | 96 | 8.5 | ||
| 40 | 200 | 135 | 145 | 110 | 4-18 | 147 | 167 | 96 | 12.5 | ||
| 50 | 230 | 150 | 160 | 125 | 4-18 | 167 | 192 | 96 | 17 | ||
| 65 | 290 | 182 | 180 | 145 | 4-18 | 194 | 229 | 165 | 24.5 | ||
| 80 | 310 | 210 | 195 | 160 | 4-18 | 212 | 252 | 230 | 33.5 |
|
可能產生的故障 |
原因 |
消除方法 |
|
手輪操作不靈活 |
1.閥桿彎曲 2.螺紋損傷 |
1.更換閥桿 2.修正螺紋,并加潤滑劑 |
|
氣動隔膜閥不能自動啟閉 |
1.起源壓力過低 2.彈簧頂緊力過大 3。橡膠隔膜損壞 |
1.調高供氣壓力 2.減少彈簧頂緊力 3.更換隔膜 |
|
閥體與閥蓋連接處滲漏 |
1.連接螺栓松動 2.閥體內膠層破裂 |
1.緊固連接螺栓 2.更換閥體 |
2022-11-7
襯氟閥門和襯膠閥門有哪些區別(都是什么材質的)2012-3-21
上玉襯膠閥門襯氟閥門-三十年的發展與輝煌2012-3-19
襯膠閥門與襯氟閥門的選型與訂購時的注意事項2012-3-8
襯膠閥門中襯膠隔膜閥的日常保養維護及維修的注意事項2012-2-28
襯膠閥門與襯氟閥門的市場現狀分析2012-2-21
襯膠閥門的主要襯里材料2012-2-15
上玉集團襯膠閥門、襯氟閥門(隔膜閥)產品2012-1-3
襯膠閥門與襯氟閥門的區別