產品關鍵字:截止閥,襯膠截止閥
襯膠截止閥主要分為直通式、直流式和直角式的三種。襯膠截止閥用于控制一般腐蝕性介質,閥體內腔表面覆有可供選擇的各種橡膠,適用于不同工作溫度和流體管中,具有強度高、耐腐蝕性好的特點。
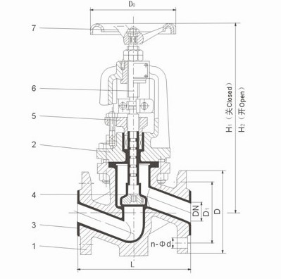
截止閥是指關閉(閥瓣)由閥桿帶動并沿閥座中心軸線做升降運動的閥門,在管路上主要用來接通或截斷管路中的介質,但不能做節流用。
襯膠截止閥基本結構
1、塑料襯里J41型直通式、J45型直溜式、J44型角式截止閥、具有結構緊湊、啟閉靈活、耐腐蝕性能強,行程短(一般為公稱通經1/4)等優點。被廣泛應用在石油、化工等管路系統中做截斷介質用,但塑料襯里的截止閥嚴禁用做流量調節,以免節流口處產生的高速介質流沖蝕破壞密封面。
2、閥瓣與閥桿設計為一體結構,用以防止由于管路壓力波動造成內件沖出閥體的可能性,結構緊湊,使用安全。
壓力等級:PN 0.6 1.0 1.6
適用溫度:≤85℃ ≤100℃ ≤120℃(按照襯里材料)
| 零件名稱 | 材 料 |
| 閥體 | 鑄鐵、鑄鋼、不銹鋼 |
| 閥蓋 |
鑄鐵、鑄鋼、不銹鋼 |
| 閥 瓣 |
鑄鋼、不銹鋼(完全包覆橡膠) |
| 閥 桿 |
鑄鋼、不銹鋼(完全包覆橡膠) |
| 襯里 | 橡膠 |
| 手 輪 | 鑄鐵、碳鋼 |
| 技 術 規 范 | |
| 設計標準 | GB12235 |
| 結構長度 | GB12221(1系列) |
| 法蘭標準 | JB/T79-94 |
| GB4216 | |
| 檢驗試驗 | GB/T13927 |
| 驅動方式 | 手動、電動、氣動 |
中國.上玉集團有限公司是專業生產襯膠閥門的廠家,襯膠截止閥訂貨須知:
一、①襯膠截止閥產品名稱與型號②襯膠截止閥口徑③襯膠截止閥是否帶附件以便我們的為您正確選型。
二、若已經由設計單位選定的襯膠截止閥型號,請按襯膠截止閥型號直接向我公司銷售部訂購。
三、當使用的場合非常重要或環境比較復雜時,請您盡量提供設計圖紙和詳細參數,由我們上玉集團的專家為您審核把關。
感謝您訪問上玉集團公司網站,如有任何疑問您可以撥打我們的全國熱線電話:400-887-6587,我們一定會盡心盡力為您提供優質的服務。

| 公稱通經 | L | D | D1 | D2 | f | b | Z-φd | |
| DN(mm) | NPS(inch) | PN1.0MPa | ||||||
| 15 | 1/2 | 130 | 95 | 65 | 45 | 2 | 14 | 4-φ14 |
| 20 | 3/4 | 150 | 105 | 75 | 55 | 2 | 16 | 4-φ14 |
| 25 | 1 | 160 | 115 | 85 | 65 | 2 | 16 | 4-φ14 |
| 32 | 11/4 | 180 | 135 | 100 | 78 | 2 | 18 | 4-φ18 |
| 40 | 11/2 | 200 | 145 | 110 | 85 | 3 | 18 | 4-φ18 |
| 50 | 2 | 230 | 160 | 125 | 100 | 3 | 20 | 4-φ18 |
| 65 | 21/2 | 290 | 180 | 145 | 120 | 3 | 20 | 4-φ18 |
| 80 | 3 | 310 | 195 | 160 | 135 | 3 | 22 | 4-φ18 |
| 100 | 4 | 350 | 215 | 180 | 155 | 3 | 22 | 8-φ18 |
| 125 | 5 | 400 | 245 | 210 | 185 | 3 | 24 | 8-φ18 |
| 150 | 6 | 480 | 280 | 240 | 210 | 3 | 24 | 8-φ23 |
| 200 | 8 | 495 | 335 | 295 | 265 | 3 | 26 | 8-φ23 |
| 250 | 10 | 622 | 390 | 350 | 320 | 3 | 28 | 12-φ23 |
| 300 | 12 | 698 | 440 | 400 | 368 | 4 | 28 | 12-φ23 |
| 350 | 14 | 787 | 500 | 460 | 428 | 4 | 30 | 16-φ23 |
| PN1.6MPa | ||||||||
| 15 | 1/2 | 130 | 95 | 65 | 45 | 2 | 14 | 4-φ14 |
| 20 | 3/4 | 150 | 105 | 75 | 55 | 2 | 16 | 4-φ14 |
| 25 | 1 | 160 | 115 | 85 | 65 | 2 | 16 | 4-φ14 |
| 32 | 11/4 | 180 | 135 | 100 | 78 | 2 | 18 | 4-φ18 |
| 40 | 11/2 | 200 | 145 | 110 | 85 | 3 | 18 | 4-φ18 |
| 50 | 2 | 230 | 160 | 125 | 100 | 3 | 20 | 4-φ18 |
| 65 | 21/2 | 290 | 180 | 145 | 120 | 3 | 20 | 4-φ18 |
| 80 | 3 |
310 |
195 | 160 | 135 | 3 | 22 | 8-φ18 |
| 100 | 4 | 350 | 215 | 180 | 155 | 3 | 24 | 8-φ18 |
| 125 | 5 | 400 | 245 | 210 | 185 | 3 | 26 | 8-φ18 |
| 150 | 6 | 480 | 280 | 240 | 210 | 3 | 28 | 8-φ23 |
| 200 | 8 | 495 | 335 | 295 | 265 | 3 | 30 | 12-φ23 |
| 250 | 10 | 622 | 405 | 355 | 320 | 3 | 32 | 12-φ25 |
| 300 | 12 | 698 | 460 | 410 | 375 | 4 | 34 | 12-φ25 |
2022-11-7
襯氟閥門和襯膠閥門有哪些區別(都是什么材質的)2012-3-21
上玉襯膠閥門襯氟閥門-三十年的發展與輝煌2012-3-19
襯膠閥門與襯氟閥門的選型與訂購時的注意事項2012-3-8
襯膠閥門中襯膠隔膜閥的日常保養維護及維修的注意事項2012-2-28
襯膠閥門與襯氟閥門的市場現狀分析2012-2-21
襯膠閥門的主要襯里材料2012-2-15
上玉集團襯膠閥門、襯氟閥門(隔膜閥)產品2012-1-3
襯膠閥門與襯氟閥門的區別