国产黄色播放I91精品国自产拍天天拍I久草精品在线I久久99精品视频I色av色av色avI99视频免费观看I天天操夜操I99久久久久

您好,歡迎來到中國·上玉集團有限公司官方網站!
熱線電話:400-887-6587 | HTML地圖

膜片式液壓快開排泥閥

  • 產品介紹
  • 型號意義
  • 產品結構/安裝尺寸
  • 故障原因及排除方法
JM744X、JM644X 隔膜式液壓、氣動快開排泥閥,是一種由液壓源或氣動源作執行機構的角型截斷類閥門通常成排安裝在沉淀池底部外側壁,用以排除池底沉淀的泥砂和污物。 隔膜式液壓、氣動快開排泥閥 由尼龍強化橡膠隔膜將閥門分為兩個腔室,接通液壓或氣動源,采用電動或手動二位四通換向閥控制,實現快速排泥。該閥將隔膜代替活塞無運動摩擦,更適用于泥漿等顆粒介質,大大提高了閥門的使用壽命。   主要技術參數: 公稱壓力0 6MPa、1 0MPa
公稱通徑:100"~400mm
最低馬驅動壓力:0.15MPa
適用介質:水、污水
驅動介質:清水、氣
適用溫度:0~80℃
法蘭標準:GB/T l 7241 6 GB/T 911 3
試驗標準:GB/T l 3927 APl 598   產品結構圖:   主要零件材料:
零件名稱 月體、月蓋 膜片壓板、閥盤 閥桿 膜片
材 料 鑄鐵、球鐵、碳鋼 球鐵、青銅 不镕鋼 尼龍強化橡膠
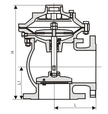
        主要外形尺寸:
DN 100 150 200 250 300 350 400
L 160 190 225 260 280 315 340
L1 120 150 190 220 260 300 340
H 370 440 53 0615 785 880 970
            典型安裝示意圖:  

中國.上玉集團有限公司是專業生產水力控制閥的廠家,膜片式液壓快開排泥閥訂貨須知:
一、①膜片式液壓快開排泥閥產品名稱與型號②膜片式液壓快開排泥閥口徑③膜片式液壓快開排泥閥是否帶附件以便我們的為您正確選型。
二、若已經由設計單位選定的膜片式液壓快開排泥閥型號,請按膜片式液壓快開排泥閥型號直接向我公司銷售部訂購。
三、當使用的場合非常重要或環境比較復雜時,請您盡量提供設計圖紙和詳細參數,由我們上玉集團的專家為您審核把關。
感謝您訪問上玉集團公司網站,如有任何疑問您可以撥打我們的全國熱線電話:400-887-6587,我們一定會盡心盡力為您提供優質的服務。

將本頁收藏到: